Hyster Diesel Forklift Truck E008 Series: H440FS, H550FS, H550F, H620F, H620FS, H650F, H700FS, H700F Spare Parts List


Product picture Hyster Diesel Forklift Truck E008 Series: H440FS, H550FS, H550F, H620F, H620FS, H650F, H700FS, H700F Spare Parts List

14.95 USD

Buy button

Original Illustrated Factory Spare Parts List for Hyster Diesel Forklift Truck E008 Series.

Original factory manuals for Hyster Forklift Trucks, contains high quality images, circuit diagrams and instructions to help you to operate, maintenance and repair your truck. All Manuals Printable, contains Searchable Text

Covered models:
    H20.00F
    H22.00F
    H25.00F
    H28.00F
    H32.00F
    H440FS
    H550F
    H550FS
    H620F
    H620FS
    H650F
    H700F
    H700FS

Language: English
Format: PDF, 732 Pages
Compatible WIN/Mac

Contents:
     1 FRAME
     2 ENGINE ASSEMBLY
     3 FUEL SYSTEM
     4 ELECTRICAL SYSTEM
     5 TRANSMISSION
     6 DRIVE AXLE
     7 STEERING SYSTEM
     8 BRAKE SYSTEM
     9 HYDRAULIC SYSTEM
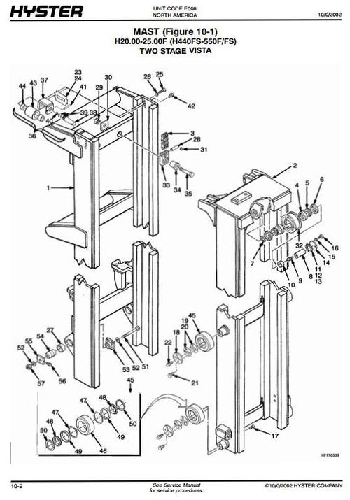
     10 MAST-TWO STAGE VISTA
     11 ATTACHMENTS
     12 OPTIONS
     13 NUMERICAL INDEX




Keywords: h700f;h620f;h550f;h440fs
File Size: 15.5 MBytes

Buy button
Do you want to become a reseller/affiliate and get 10.0% provision?
Embed: Create JavaScript Mobile Tag Widgets for your homepage
Hyster Diesel Forklift Truck E008 Series: H440FS, H550FS, H550F, H620F, H620FS, H650F, H700FS, H700F Spare Parts List Hyster Diesel Forklift Truck E008 Series: H440FS, H550FS, H550F, H620F, H620FS, H650F, H700FS, H700F Spare Parts List h700f;h620f;h550f;h440fs 280619882 14.95 bg-store Fresh Download Available!